产品分类/ Products
- ET7428 1Ω Dual SPDT Negative Signal Handing Analog Switch
- ET7222 High-Speed USB 2.0(480Mbps) Switch
- ET5228H 0.6Ω Dual SPDT Negative Signal Handing Analog Switch
- ET5223 0.5Ω Dual SPDT Analog Switch
- HTR6916 共阴极16x9阵列LED 驱动器
- HTR7198(S), HTR7144(S) 带自动呼吸功能的18x
- PL62010 集成升降压控制器及双向PD3.0等多种快
- RY6050-ADJ Series 500mA Adjustable High-Speed Low Power LDO
- RY6050 Series 500mA High PSRR, Low Noise, Low Power LDO
- RY6313 40V 150mA Low Power LDO
- RY6031 300mA High PSRR, Low Noise, Low Power LDO
- RY8337C 36V 3A 500KHz Synchronous Step-Down Regulator
- RY8337B 30V 3A 500KHz Synchronous Step-Down Regulator
- RY8337 38V 3.3A 500KHz Synchronous Step-Down Regulator
电阻式触摸屏
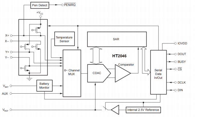
产品名称:HT2046(兼容TSC2046/AR7846
型号: HT2046
产片介绍:HT2046 是4线式触摸屏控制器ADS7846的替代产品,支持1 5V~5 25V低压I O界面,与现有的ADS7846 可实现100%的PIN to PIN 替换,使用相同的插座,这使得更新的电路很容易的升级到新的版本。内
产片介绍:HT2046 是4线式触摸屏控制器ADS7846的替代产品,支持1 5V~5 25V低压I O界面,与现有的ADS7846 可实现100%的PIN to PIN 替换,使用相同的插座,这使得更新的电路很容易的升级到新的版本。内
┄┄┄详细介绍┄┄┄
|
引脚信息:
|
上一篇:NS2009 I2C接口4线制电阻式触摸屏控制器
下一篇:最后一页

