产品分类/ Products
- ET7428 1Ω Dual SPDT Negative Signal Handing Analog Switch
- ET7222 High-Speed USB 2.0(480Mbps) Switch
- ET5228H 0.6Ω Dual SPDT Negative Signal Handing Analog Switch
- ET5223 0.5Ω Dual SPDT Analog Switch
- HTR6916 共阴极16x9阵列LED 驱动器
- HTR7198(S), HTR7144(S) 带自动呼吸功能的18x
- PL62010 集成升降压控制器及双向PD3.0等多种快
- RY6050-ADJ Series 500mA Adjustable High-Speed Low Power LDO
- RY6050 Series 500mA High PSRR, Low Noise, Low Power LDO
- RY6313 40V 150mA Low Power LDO
- RY6031 300mA High PSRR, Low Noise, Low Power LDO
- RY8337C 36V 3A 500KHz Synchronous Step-Down Regulator
- RY8337B 30V 3A 500KHz Synchronous Step-Down Regulator
- RY8337 38V 3.3A 500KHz Synchronous Step-Down Regulator
音质/音效处理电路
产品名称:D2761 音频限幅器
型号: D2761
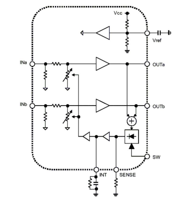
产片介绍:概述: D2761是为保护扬声器所设计的音频限幅器,其限幅值可通过外接电 阻来调节,适合在个人电脑、便携式音响等系统中作音频限幅用。 D2761采用SSOP10、MSOP10、TSSOP14的封装形式封装。 主要
产片介绍:概述: D2761是为保护扬声器所设计的音频限幅器,其限幅值可通过外接电 阻来调节,适合在个人电脑、便携式音响等系统中作音频限幅用。 D2761采用SSOP10、MSOP10、TSSOP14的封装形式封装。 主要
┄┄┄详细介绍┄┄┄
概述:
D2761是为保护扬声器所设计的音频限幅器,其限幅值可通过外接电
阻来调节,适合在个人电脑、便携式音响等系统中作音频限幅用。
D2761采用SSOP10、MSOP10、TSSOP14的封装形式封装。
主要特点:
工作电压范围宽:+2.7V ~ +13.0V
外接电阻调节限幅范围:0.2V ~ 1V
输出噪声低:最大值 -90dBV
双极工艺技术
应用:
● 音频限幅
功能框图:

上一篇: M62429 二线制串行数据信号控制
下一篇:最后一页